A newly published patent from Tesla outlines an unconventional vehicle seat design that could significantly alter how automotive interiors are engineered and manufactured. The filing, recently identified by a patent analyst, suggests the company is developing a monolithic seat structure for its next generation Roadster, replacing the complex multi component assemblies commonly used in modern vehicles.
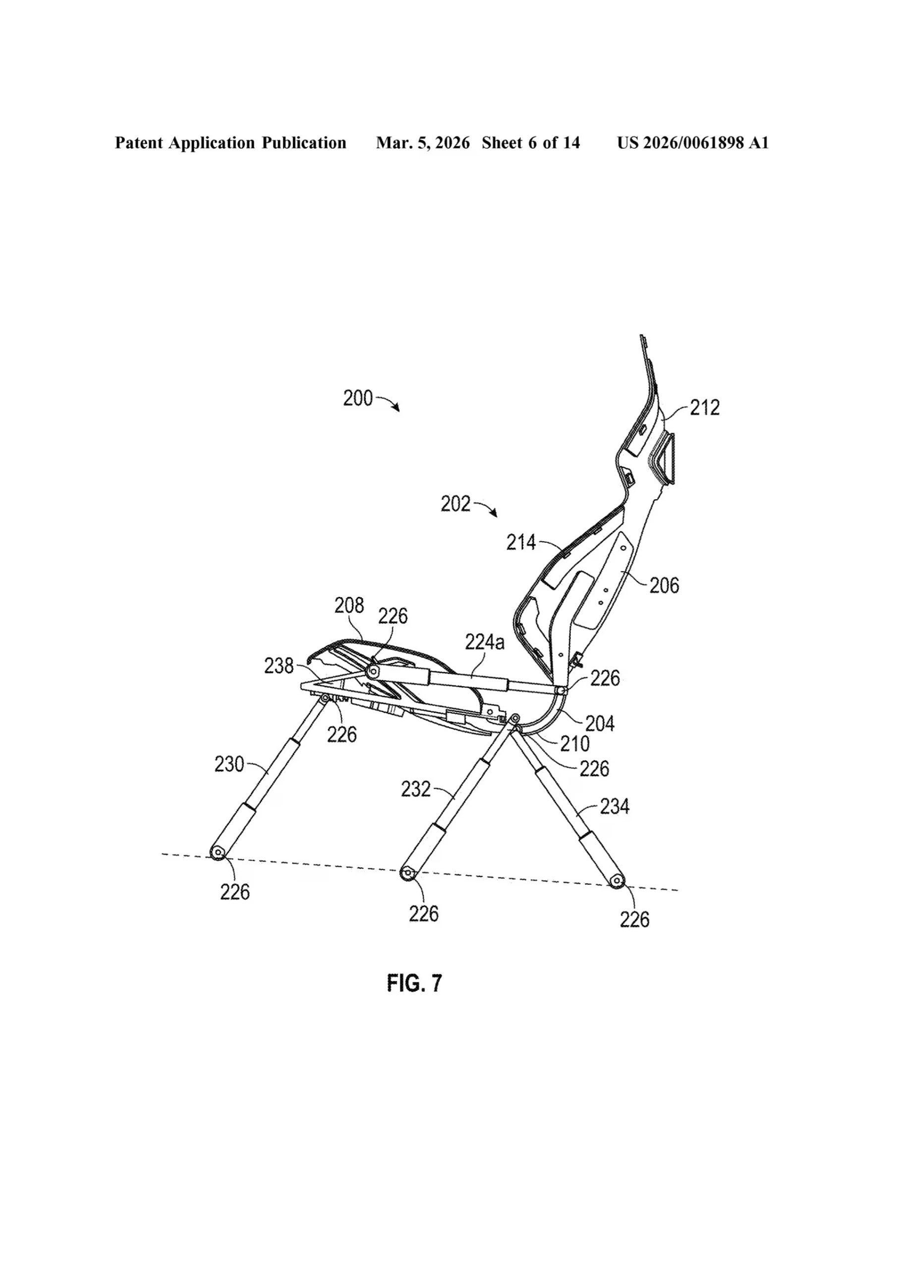
Conventional car seats typically consist of numerous individual parts including metal frames, recliner mechanisms, headrest supports, and structural brackets fastened together through bolts and rivets. Tesla’s patent proposes a single continuous composite frame that integrates the seat base, backrest, headrest, and side bolsters into one thermoformed structure. The design reduces part count and mechanical complexity while potentially lowering weight and improving structural rigidity, according to Autoblog.
The concept resembles manufacturing approaches used in high performance vehicles that rely on carbon fiber monocoque structures for strength and weight reduction. By applying similar engineering principles to seating systems, the company aims to consolidate multiple structural elements into a unified load bearing component.
The patent documentation indicates the seat frame would incorporate multiple stiffness zones engineered for both occupant comfort and safety performance. Up to six distinct rigidity regions could be tuned to provide ergonomic support while maintaining structural resilience under stress conditions such as rapid acceleration or collisions.

Traditional mechanical recliner assemblies are replaced with a flexible hinge system constructed from fiber reinforced composite materials. This integrated hinge allows controlled seat movement without requiring separate metallic adjustment hardware. Motion control would instead rely on electrically powered actuators governed by an electronic control unit.
Four actuator pairs enable six degrees of movement, allowing the seat position to be adjusted through software controlled inputs rather than purely mechanical levers. This architecture introduces the possibility of programmable seating profiles tailored to different driving modes or occupant preferences.
Additional features described in the patent include ventilation channels molded directly into the structural frame to simplify climate control integration. Safety systems are also incorporated into the unified structure, with airbag deployment pathways built into the bolsters to ensure predictable expansion geometry during a collision event.
Interior finishing components are designed to attach directly to the composite frame without requiring separate fastening hardware. This approach could streamline assembly processes and reduce manufacturing steps compared to conventional seat production methods.
Beyond performance applications, the technology may have broader manufacturing implications. A monolithic composite structure reduces part count, assembly time, and potential failure points while enabling more automated production workflows. If scaled effectively, similar seat architectures could be deployed across multiple vehicle platforms to improve production efficiency.
The patent’s emergence comes as anticipation continues around the delayed launch of the next generation Tesla Roadster, first unveiled in 2017. While production timelines remain uncertain, the filing indicates ongoing engineering development tied to the flagship performance model.
Industry analysts note that structural consolidation strategies align with Tesla’s broader manufacturing philosophy, which has emphasized large scale casting, reduced component complexity, and vertically integrated production systems.
