Image Credits: Rolls Royce
Rolls-Royce has filed a patent for a hydrogen-based propulsion system designed for gas turbine engines, marking another step in efforts to develop lower-emission aviation technologies. The concept focuses on improving how liquid hydrogen is handled and combusted within aircraft engines.
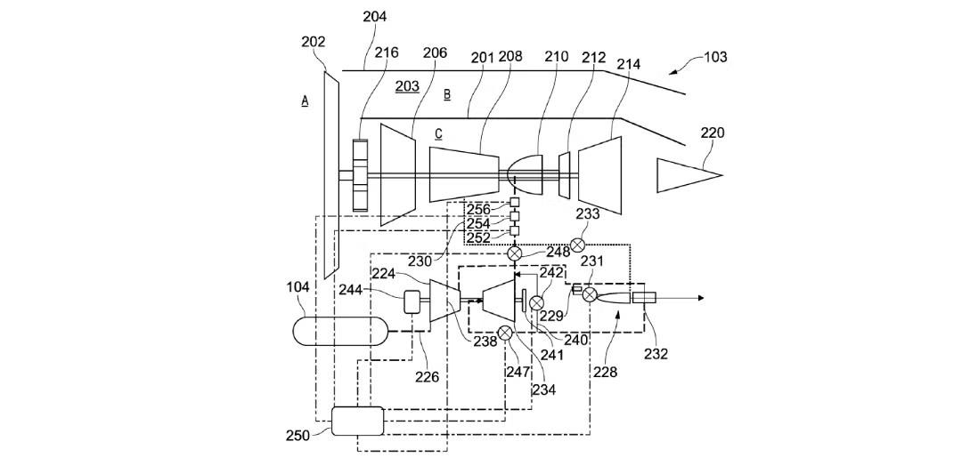
The proposed system introduces a method to preheat hydrogen fuel before combustion, addressing one of the key technical challenges associated with its use. Liquid hydrogen must be stored at extremely low temperatures and can behave unpredictably during combustion. The patented design uses an auxiliary combustor to heat the fuel before it enters the main engine, improving stability and efficiency, according to Simple Flying.
Hydrogen has long been considered a potential alternative to conventional jet fuel because it can produce zero carbon dioxide emissions at the point of use. However, its adoption in aviation has been limited by technical constraints, including storage requirements and lower energy density by volume compared to traditional fuels.

The Rolls-Royce system is designed as a self-sustaining loop, where a portion of hydrogen fuel is diverted and burned to heat the remaining fuel. This approach aims to create a more controlled combustion process while maintaining engine performance.
Despite these advances, significant barriers remain. Hydrogen requires larger storage volumes, which can affect aircraft design, passenger capacity, and range. It also demands specialized infrastructure for production, transport, and refueling, much of which is not yet in place globally.
Industry expectations suggest that hydrogen propulsion is more likely to be introduced first in smaller aircraft. Rolls-Royce has indicated that hydrogen-powered engines could be viable for regional or short-haul aircraft by the mid-2030s, while long-haul applications may continue to rely on alternative solutions such as sustainable aviation fuels.
The development comes amid broader industry efforts to reduce emissions. Aircraft manufacturers and regulators are exploring a range of technologies, including hydrogen combustion, fuel cells, and hybrid-electric systems. Initiatives supported by European programs and regulatory bodies are funding research into these alternatives.
However, the environmental benefits of hydrogen depend on how it is produced. While “green hydrogen” generated using renewable energy offers low emissions, much of the current global supply is still produced using fossil fuels. Scaling up clean hydrogen production remains a key challenge for the aviation sector.
The patent highlights ongoing experimentation with hydrogen as part of a wider transition in aviation propulsion. While commercial deployment is still years away, developments such as this indicate continued progress toward integrating alternative energy sources into future aircraft designs.
